咨询热线0755-26993877
随着国内、制造业、机器人、医疗等行业对运动传感器的需求越来越大,运动传感器的使用也越来越多。红外传感器是最受欢迎的运动检测器,可用于各种设备。传感器收集有关移动的信息,当有东西移动时,设备可以用这些信...

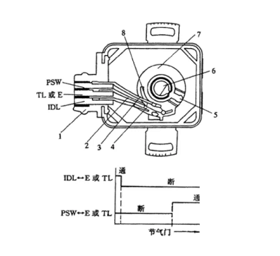
节气门位置传感器一方面用于检测节气门开度的角度作为发动机负荷的参考信号,另一方面反映节气门开度变化的速度,从而反映驾驶员的驾驶意图。对于自动变速器的电子控制系统,节气门位置传感器主要用于检测节气门开度...

节气门位置传感器的目的是确保将正确的空气和燃料混合物输送到您的汽车发动机,以使您的车辆发挥最佳性能。它是汽车燃油管理系统的重要组成部分,位于蝶形主轴/轴上。 当此传感器无法正常工作时,您会遇到明显的症...

现代燃料喷射内燃机依靠燃料和氧气的有效混合物来运行。这是燃油喷射系统的任务-它在顶部有一个节气门体,包括一些辅助这个过程的组件。节气门体中最重要的两个部件是节气门体位置传感器(TPS)和节气门体温度传...

气动阀,通常称为方向控制阀,可以防止或转移系统中压缩空气或其他气体的流动。这些阀门用于驱动其他部件,如致动器、夹具、手动工具或其他设备,也用于引导其他阀门。提供各种类型的阀门,所有阀门都具有不同的特性...

电动执行器与其他类型的执行器相比究竟如何?许多人认为气动执行器更便宜,因此这是他们应用的最佳选择。在某些情况下,这与事实相去甚远,电动执行器效率更高。这意味着执行器性能更好,甚至可以在使用时节省资金。...

电动执行器是机器或设备的一部分,它通过按下按钮将某种形式的能量转换为机械力来实现运动。种类繁多,但最流行的是使用不可压缩液体作为能量的液压类型。与其他选择相比,电动线性执行器最近获得了更多的关注,因为...

选择正确的安装类型会影响线性执行器的执行方式。以下是直线执行器最常用的安装类型。 1.U形夹安装 一种流行的电动直线执行器安装座使用U形夹和安装销。没有支架或任何其他类型的支撑来停止运动。这使致动器能...

一、气动直线执行器 气动执行器和电动执行器之间的主要区别在于源的类型。气动线性执行器使用压缩气体。气体被泵入气缸的一端,然后从另一端推出。这个动作向前推动活塞,然后驱动负载。 气动线性执行器是杆式执行...

使自动化成为可能的一个主要部件是电动执行器。这些机械设备使用旋转或直线运动将电能转化为动能。电动执行器与其他类型的执行器一样工作。唯一的区别是它使用电力作为输入。电力为电机提供动力,触发特定组件运动。...
